电动截止阀
阀门首页 > 产品展示 > 截止阀 > 电动截止阀 > 






|
公称压力PN(MPa) Noninal Pressure |
1.6 |
2.5 |
4.0 |
6.4 |
10.0 |
16.0 |
|
壳体强度试验 Shell strength test |
2.4 |
3.75 |
6.0 |
9.6 |
15 |
24 |
|
上密封试验 Back seal test |
1.76 |
2.75 |
4.4 |
7.04 |
11 |
17.6 |
|
密封试验 Sealtest(Mpa) |
1.76 |
2.75 |
4.4 |
7.04 |
11 |
17.6 |
|
产品类型 Product type |
使用介质 Suitable medium |
适用温度(℃) Working temperature |
|
J41H/Y -C型 J941H/Y -C型 |
水、蒸气、油品 Water,steam, Oil goods |
≤425 |
|
J41H/Y -P型 J941H/Y -P型 |
硝酸类 Nitric acid |
≤200 |
|
J41H/Y -R型 J941H/Y -R型 |
醋酸类 Acetic acid |
≤200 |
|
J41H/Y -I型 J941H/Y -I型 |
水、蒸气、油品 Water,steam, Oil goods |
≤550 |
|
产品类型 Product tupe classifcation |
零 件 名 称Part name |
|||||||
|
阀体、阀盖 Body,Bonnet |
阀杆 Valve stem |
阀瓣 Disc |
密封面 Sealing face |
阀杆螺母 Yoke nut |
填料 Packing |
紧固件 Fastener |
手轮 Handwheel |
|
|
H J41 -C型 Y H J941 -C型 Y |
25.WCB |
铬不锈钢 Cr.Stainles Steel |
2Cr13 25 |
H:不锈钢 Y:钻基硬质合金钢 H:Stainless steel Y:Co-based carbide alloy steel |
ZQA19-4 铝青铜 Albronze |
柔性石墨 Flexible graphite |
优质碳钢 High-grade carbon steel |
可锻铸钢 Forgeable cast-ironl |
|
H J41 -P型 Y H J941 -P型 Y |
铬镍钛钢 Cr.Ni.Ti.steel |
铬镍钛钢 Cr.Ni.Ti.steel |
铬镍钛钢 Cr.Ni.Ti.steel |
铬镍钛钢 Cr.Ni.Ti.steel |
ZQA19-4 铝青铜 Albronze |
柔性石墨 Flexible graphite |
不锈钢 Stainess steel |
可锻铸钢 Forgeable cast-ironl |
|
H J41 -R型 Y H J941 -R型 Y |
铬镍钼钛钢 Cr.Ni.Mo.Ti steel |
铬镍钼钛钢 Cr.Ni.Mo.Ti steel |
铬镍钼钛钢 Cr.Ni.Mo.Ti steel |
铬镍钼钛钢 Cr.Ni.Mo.Ti steel |
ZQA19-4 铝青铜 Albronze |
柔性石墨 Flexible graphite |
不锈钢 Stainess steel |
可锻铸钢 Forgeable cast-ironl |
|
H J41 -I型 Y H J941 -I型 Y |
铬钼钢 Cr.Mo.steel |
铬钼钢 Cr.Mo.steel |
合金钢 Alloy steel |
钻基硬质合金钢 Co-based carbide alloy steel |
ZQA19-4 铝青铜 Albronze |
柔性石墨 Flexible graphite |
合金钢 All steel |
可锻铸钢 Forgeable cast-ironl |
|
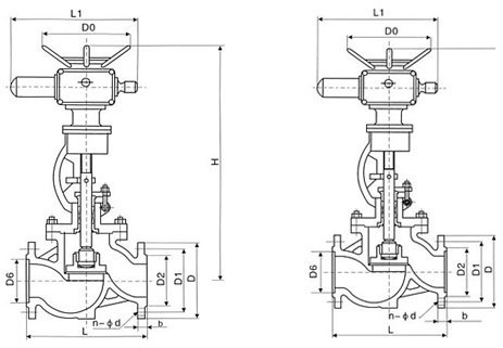
公称 压力 |
通径 |
主要外形尺寸及连接尺寸(mm) |
重量 |
|||||||||
|
L |
D |
D1 |
D2 |
b-f |
f2 |
z-d |
H |
L1 |
L2 |
|||
|
PN 1.6 MPa |
50 |
230 |
160 |
125 |
100 |
18-3 |
- |
4-18 |
645 |
590 |
371 |
48 |
|
65 |
290 |
180 |
145 |
120 |
18-3 |
- |
4-18 |
690 |
590 |
371 |
90 |
|
|
80 |
310 |
195 |
160 |
135 |
20-3 |
- |
8-18 |
715 |
590 |
371 |
65 |
|
|
100 |
350 |
215 |
180 |
155 |
22-3 |
- |
8-18 |
770 |
590 |
371 |
71 |
|
|
125 |
400 |
245 |
210 |
185 |
24-3 |
- |
8-18 |
780 |
590 |
371 |
119 |
|
|
150 |
480 |
280 |
240 |
210 |
24-3 |
- |
8-23 |
810 |
590 |
371 |
210 |
|
|
200 |
600 |
335 |
295 |
265 |
26-3 |
- |
12-23 |
967 |
810 |
515 |
320 |
|
|
250 |
650 |
405 |
355 |
320 |
30-3 |
- |
12-23 |
1143 |
810 |
515 |
550 |
|
|
300 |
750 |
460 |
410 |
375 |
30-3 |
- |
12-23 |
1292 |
830 |
540 |
785 |
|
|
PN 2.5 MPa |
50 |
230 |
160 |
125 |
100 |
20-3 |
- |
4-18 |
645 |
590 |
370 |
50 |
|
65 |
290 |
180 |
145 |
125 |
22-3 |
- |
8-18 |
690 |
590 |
371 |
62 |
|
|
80 |
310 |
195 |
160 |
145 |
22-3 |
- |
8-18 |
715 |
590 |
371 |
67 |
|
|
100 |
350 |
230 |
190 |
160 |
24-3 |
- |
8-23 |
770 |
590 |
371 |
73 |
|
|
125 |
400 |
270 |
220 |
188 |
28-3 |
- |
8-15 |
780 |
590 |
371 |
127 |
|
|
150 |
480 |
300 |
250 |
218 |
30-3 |
- |
8-15 |
875 |
810 |
515 |
215 |
|
|
200 |
600 |
360 |
310 |
278 |
34-3 |
- |
12-25 |
967 |
810 |
515 |
322 |
|
|
250 |
650 |
425 |
370 |
332 |
36-3 |
- |
12-30 |
1153 |
830 |
540 |
585 |
|
|
300 |
750 |
485 |
430 |
390 |
40-4 |
- |
12-30 |
1292 |
830 |
540 |
795 |
|
|
PN 4.0 MPa |
50 |
230 |
160 |
125 |
100 |
20-3 |
4 |
4-18 |
645 |
590 |
371 |
61 |
|
65 |
290 |
180 |
145 |
125 |
22-3 |
4 |
8-18 |
690 |
590 |
371 |
75 |
|
|
80 |
310 |
195 |
160 |
145 |
22-3 |
4 |
8-18 |
715 |
590 |
371 |
84 |
|
|
100 |
350 |
230 |
190 |
160 |
24-3 |
4.5 |
8-23 |
770 |
590 |
371 |
101 |
|
|
125 |
400 |
270 |
220 |
188 |
28-3 |
4.5 |
8-25 |
782 |
810 |
371 |
207 |
|
|
150 |
480 |
300 |
250 |
218 |
30-3 |
4.5 |
8-25 |
875 |
810 |
515 |
226 |
|
|
200 |
600 |
375 |
320 |
282 |
38-3 |
4.5 |
12-30 |
1160 |
810 |
540 |
399 |
|

上一篇:走蒸汽的电动截止阀j941h-16c dn350生产厂家 / 下一篇:电动截止阀J941H-25 dn100(多少钱)