手动球阀Q21F-16P DN25的具体规格如下:
-
公称通径:DN25
-
适用温度:常温
-
适用介质:水、气、油等
-
工作压力:1.6~6.4MPa
-
阀体材质:不锈钢304

手动球阀Q21F-16P DN25具有以下特点和应用:
-
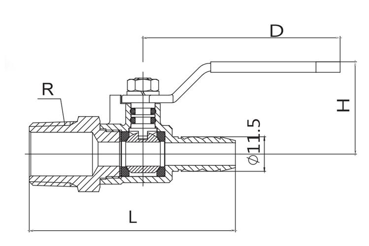
结构特点:球阀在旋转90度时,进出口处全部呈现球面,从而关闭或开启阀门,基本没有流阻力。
-
安装方向:手动球阀应安装在管道的水平方向或垂直方向,安装点附近的管道不可有低垂或者承受外力的现象。
-
连接方式:手动球阀可以通过法兰连接,安装时需用规定的扭矩交叉锁紧法兰连接螺栓。
此外,手动球阀Q21F-16P适用于多种场景,如食品行业等。

详细说明: 手动球阀Q21F-16P DN25的设计和工作原理是基于球体的旋转来实现阀门的开启和关闭。当球阀旋转90度时,球体的中心孔对准阀体的通道,从而使流体通过,达到开启的目的;当球阀回转90度时,球体堵住阀体的通道,从而达到关闭的目的。这种设计使得阀门在开启后,阀球藏在阀腔内,介质流通不会直接冲蚀阀球,避免了阀球的损坏。 安装和使用注意事项: 在安装前,需要取掉法兰端两边的保护盖,并在阀完全打开的状态下进行冲洗清洁。 安装时,请勿用阀的执行机构部分作为起重的吊装点,以避免损坏执行机构及附件。 安装点附近的管道不应有低垂或者承受外力的现象,可以使用管道支架或支撑物来消除管线的偏离。 与管道连接后,请用规定的扭矩交叉锁紧法兰连接螺栓。
手动球阀Q21F-16P DN25具体规格、技术指标及售后服务 手动球阀Q21F-16P DN25是一种常用的阀门产品,广泛应用于各种工业领域。该球阀具有以下具体规格和技术指标: 首先,球阀的型号为Q21F-16P,适用口径为DN25。这意味着球阀的最大通径为25毫米,可以满足一定范围内的流体控制需求。 其次,球阀采用手动操作方式,即通过手动旋转阀杆来控制流体的通断。这种设计简单实用,操作方便,不需要额外的电力或气动设备。 此外,该球阀的阀体材料为不锈钢,保证了阀门的耐腐蚀性和长寿命。阀杆材料也采用了不锈钢,具备较高的强度和耐磨性,保证了阀门的可靠性和稳定性。 该球阀还具备良好的密封性能。阀座采用PTFE等材料制成,具有良好的耐腐蚀性和耐温性能,确保了阀门在高压和高温环境下的可靠密封。
对于售后服务,该球阀厂家提供全面的技术支持和售后保障。在球阀购买后,厂家将提供详细的产品使用说明书和安装指导,以帮助用户正确安装和使用阀门。 此外,如果用户在使用过程中遇到任何问题,可以随时与厂家联系,厂家将及时提供解决方案和技术支持。 总之,手动球阀Q21F-16P DN25具备了适用范围广泛、操作简便、耐腐蚀、可靠密封等优点。厂家提供的全面售后服务也保证了用户在使用过程中的满意度。因此,如果您在工业应用中需要控制流体流动,手动球阀Q21F-16P DN25将是一个理想的选择。